17H轧机减速机轴承损坏案例知识分享
2022-06-27 科威设备
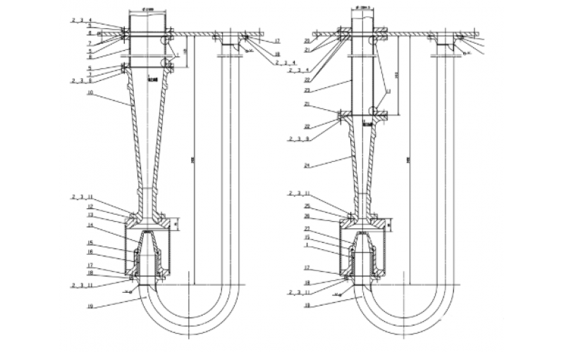
用于提升悬挂装置的新型钢丝绳锁绳器
2022-06-20 科威设备
注油器工作原理知识分享
安全和控制系统中阀门的预期寿命
2022-06-16 科威阀门
KW-CW200系列无源无线测温技术为大唐安全发电保驾护航
2022-06-15 科威电气
汽机侧DCS(DEH)黑屏或死机处理思路详解
2022-06-13 科威设备
多绳摩擦式提升机在运行维护中需注意的问题及处理措施
2022-06-08 科威设备
风电机组齿轮箱润滑油泡沫的产生原因、危害及处理措施知识分享-KWZK科威
2022-05-31 科威设备