新闻动态

  • 反渗透的浓水电磁流量计流量值偏低

    流量显示值与实际流量不相符。原因有仪表的零点没有调校、设定好,传感器安装位置不符合要求,传感器前、后直管段达不到要求,不能满管或液体中含有气泡;传感器电极的电阻发生变化,电极的绝缘电阻下降;信号电缆的绝缘下降;转换器设定有错误。工艺原因有:传感器上、下游流体的流动状况不符合要求。

    2024-11-22 科威

  • 仪表调试的内容及其目的

    仪表调试是对工业自动化控制中涉及到的仪表单体和控制系统进行调整和试验,目的是检查其内在 技术性能符合规范或设计规定,参数达到设计图纸要求。

    2024-11-11 科威

  • 475HART手操器菜单翻译

    475HART手操器菜单翻译

    2024-11-08 科威

  • 酸性气体差压式流量计积液堵塞装置联锁

    硫磺B装置清洁酸性气量开始波动。16:14:10硫磺A装置由于FT-04A/B低低报警,三取二低低联锁16:18:39停炉。

    2024-10-11 科威

  • 切断阀突然关闭故障原因分析

    6月24日09:42,K-102CO2压缩机四段出口管线上安全阀起跳,四段出口流量计FT-137无指示,经现场确认,流量计无指示是由K-102四段出口至汽提塔入口切断阀HV-02关闭造成。仪表人员更换电磁阀并进行调校后,12:00交付三厂工艺人员使用。该阀关闭,造成尿素装置停车封塔4小时。

    2024-09-20 科威

  • 压力低低触发加热炉燃料气联锁

    下午蒸馏常减压炉燃料气快速断阀关闭,瓦斯压力低低触发加热炉燃料气联锁,工艺应急处理比较及时。仪表车间到现场检查发现常压炉燃料气切断阀供电回路掉电导致装置联锁,车间安排立即恢复供电,配合恢复生产,仪表车间在检查线路完未发现异常后立即送电恢复,装置恢复正常。

    2024-09-04 科威

  • 压力表、压力开关、数字仪表的调校注意事项

    调校前准备 ①检查被校仪表外观,铭牌应完整、清楚,并注明型号、规格、位号等,应标记高、低压容室,表涂层完好、无锈蚀,内部零部件完整无损,无影响使用和计量性能的缺陷。

    2024-08-23 科威

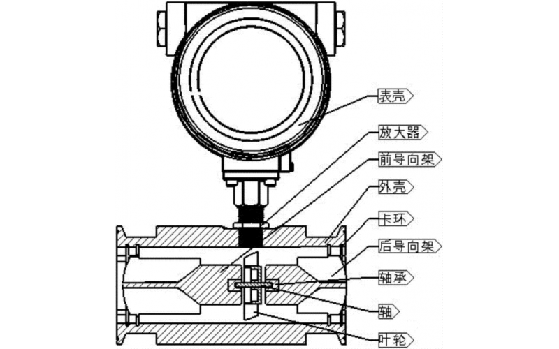
  • 涡轮流量计显示流量为零

    涡轮流量计简介: 涡轮流量计一般由传感器和显示仪两部分组成,也可做成整体式。 涡轮流量计和容积式流量计、科里奥利质量流量计称为流量计中三类重复性、精度最佳的产品,作为十大类型流量计之一,其产品已发展为多品种、多系列批量生产的规模。

    2024-08-14 科威

首页
产品
新闻
联系